Дневни светлини за Toyota - DRL модули,схеми,LED светлини...

Публикувай отговор
Аватар
Stivans
Мнения: 209
Регистриран на: 08 Юни 2022 22:21
Местоположение: Стара Загора
Автомобил: Toyota RAV4/XA40/2,5/2AR-FE
Благодарил/а: 77 пъти
Получена  благодарност: 40 пъти

Дневни светлини за Toyota - DRL модули,схеми,LED светлини...

Мнение от Stivans » 06 Окт 2023 10:38

slowtraveler, На моята Тойота има фабрични дневни, които включват само късите светлини на пълна мощност (фаровете му са с лещи и късите и дългите са на една халогенна крушка с леща и като изгори оставам без фар), при положение ключа на светлините "Ауто". Т.е. ако включа на "Ауто" няма "+" км габаритите релето не сработва и дневните ми LED остават включени. Затова взех сигнал от късите. Започнах монтажа от левия фар и контролера зa LED се оказа случайно :-) до кутията с предпазителите на късите светлини. Имам положение на ключа DLR Off-позиция 4. Т.е. изключвам DLR и оставям LED-да да работи.
Прикачени файлове
Светлини Тойота.jpg
Светлини Тойота.jpg (41.09 KiB) Преглеждано 23400 пъти
Toyota RAV4/XA40 Facelift -2018/2,5/2AR-FE

svetly
Мнения: 4
Регистриран на: 01 Май 2010 10:18
Местоположение: София
Автомобил: Toyota Avensis D4D 2.0 110 HP

Дневни светлини за Toyota - DRL модули,схеми,LED светлини...

Мнение от svetly » 29 Окт 2023 16:28

nigio написа: 26 Юли 2020 17:40 Ако зададеш точен въпрос и ако колата е Авенсис след 2012,ще мога да отговоря,или помогна.Моята кола работи така вече няколко месеца.Пред мен хора. който поставиха неправилни крушки си изгориха електрониката във фара.Сега съм виждал лед крушки за Авенсис Т27,който работят без съпротивления.

Здравей колега! Би ли споделил какви са тези крушки дето работят без съпротивления?
Благодаря предварително

Аватар
Inventor198152
Мнения: 24
Регистриран на: 13 Сеп 2017 20:57
Местоположение: Troyan
Автомобил: Toyota Avensis 2.2 150кс D4D

Дневни светлини за Toyota - DRL модули,схеми,LED светлини...

Мнение от Inventor198152 » 21 Ное 2023 18:33

От четенето на всички 63стр. така и не можах да разбера как да се монтира модул че да тръгнат дългите като дневни на процент обърках се тотално от толкова много схеми и недоуточнения. Закупих си модул със управление по минус ама никой не иска да го монтира че било голяма драма със тези инсталации на T25.

https://www.olx.bg/d/ad/dnevni-svetlini ... bserved_ad

Някой ако може конкретно да говори за T25 как е сложил подобно модулче и някоя снимка ще съм му благодарен!

Иван Атанасов Кр
Мнения: 8
Регистриран на: 28 Дек 2023 15:40
Местоположение: Криводол
Получена  благодарност: 2 пъти

Дневни светлини за Корола Версо 2007

Мнение от Иван Атанасов Кр » 21 Яну 2024 15:29

Какъв модел дневни светлини са подходящи за Корола Версо и някаква насока, ако може, как се свързват- нещо като схема, може би. Благодаря предварително!

vfr800
Мнения: 552
Регистриран на: 19 Сеп 2019 17:24
Местоположение: София
Автомобил: Тойота,Митсубиши,Нисан,Лексус
Благодарил/а: 1 път
Получена  благодарност: 114 пъти

Дневни светлини за Toyota - DRL модули,схеми,LED светлини...

Мнение от vfr800 » 22 Яну 2024 09:04

Тези , които са на процент са с променливо съпротивление. Имат два потенциометъра отстрани. Единия е , за да настроиш на какво напрежение да се пускат. Т.е дали 12в или 13+в, с идеята преди да си запалил да не тръгват, а другото е за процента на изхода. Връзването е следното. Имаш два плюса като на единия се слага бушон. Втория го връзваш директно към кабела на първия след бушона, а първия преди бушона се връзва на постоянен плюс. Най-добре на релето за късите . Така остават два кабела единия го връзваш пак към релето на късите, той ще деактивира DRL-a, а другия на релето на дългите за активация на DRL-a. Ако това обяснение ви се струва сложно препоръчвам да се обърнете към специалист за монтажа.

Rickata
Мнения: 2
Регистриран на: 21 Фев 2024 13:50
Местоположение: Petrich
Автомобил: Avensis t27

Дневни светлини за Toyota - DRL модули,схеми,LED светлини...

Мнение от Rickata » 21 Фев 2024 14:42

Откъде намерихте резистори с тези параметри?

grigorhr
Мнения: 9
Регистриран на: 09 Яну 2018 15:29
Местоположение: Чепеларе
Автомобил: Toyota Avensis T25 2.0 D-4D

Дневни светлини за Toyota - DRL модули,схеми,LED светлини...

Мнение от grigorhr » 28 Фев 2024 20:16

Здравейте. Може ли да ми препоръчате модул за дневни къси светлини за Тойота Авенсис Т25.

Иван Атанасов Кр
Мнения: 8
Регистриран на: 28 Дек 2023 15:40
Местоположение: Криводол
Получена  благодарност: 2 пъти

Дневни светлини за Toyota - DRL модули,схеми,LED светлини...

Мнение от Иван Атанасов Кр » 01 Мар 2024 14:42

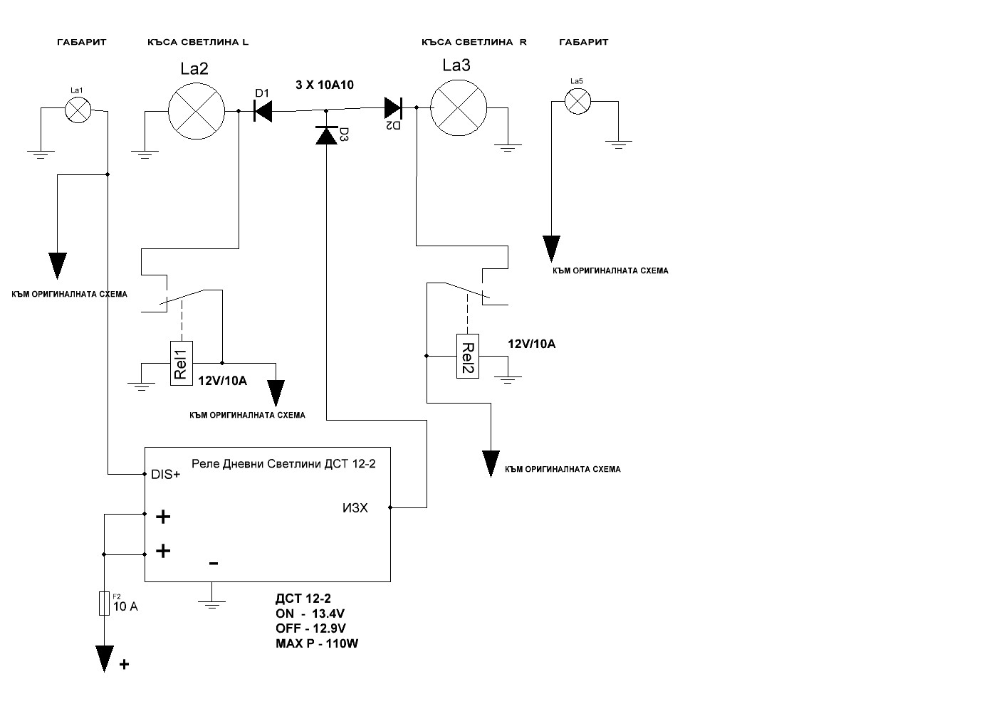
Схема Дневни Светлини Toyota Corolla Verso.JPG
Схема Дневни Светлини Toyota Corolla Verso.JPG (83.9 KiB) Преглеждано 19790 пъти
Ето как аз направих дневни светлини на нашата Тойота Корола Версо.
Използвах готов модул DRL с управление по + и добавих релета, диоди и малко проводници.

geniya
Мнения: 317
Регистриран на: 17 Авг 2014 08:38
Местоположение: Асеновград
Благодарил/а: 3 пъти
Получена  благодарност: 9 пъти

Дневни светлини за Toyota - DRL модули,схеми,LED светлини...

Мнение от geniya » 05 Апр 2024 07:07

Колега, схемата е ОК, но за какво са D1, D2 и D3? Нали като се подаде напрежение на DIS+ се изключва модула и захранването на късите е от оригиналната инсталация. Не съм сигурен дали напрежението на зареждане не варира от 14,8V до 12,2V на Корола Версо, както е при RAV4 и не само. Ако е така идва момент когато модулът изключва поради по-ниско напрежение от 12,9V и после пак включва. При мен проблема го реших с двойна LED крушка дневна/мигач от Алито захранена постоянно при контакт.
Toyota Rav4 XA30 2008, 2.2 D4D 136hp /No DPF и Toyota Yaris 1.5 Hybrid 2013

Иван Атанасов Кр
Мнения: 8
Регистриран на: 28 Дек 2023 15:40
Местоположение: Криводол
Получена  благодарност: 2 пъти

Дневни светлини за Toyota - DRL модули,схеми,LED светлини...

Мнение от Иван Атанасов Кр » 07 Апр 2024 10:04

@geniya - понеже не намерих достоверна ел. схема на светлините предположих, че веригите на лява и дясна къса светлина са отделни и независими една от друга. Така, че D1 и D2 предотвратяват "късо" съединение между тия две вериги. За D3 сега не се сещам какво му е предназначението, по- скоро е "за всеки случай", но все пак мисля, че и друго имах наум относно този D3- сега обаче, не се сещам, но си мисля, че все пак е по- добре да го има. Но D1 и D2 са си необходими.
П.С. Да, напрежението се оказа, че варира, но все пак с оригиналните крушки не забелязах да има "мигане" на "дневните". Обаче сложих LED "къси" и при тях забелязвам такова мигане, но е само когато колата е на "празен" ход- като се подава газ и при нормално движение не забелязвам да мигат- т.е. явно напрежението не пада под 12.9V.

geniya
Мнения: 317
Регистриран на: 17 Авг 2014 08:38
Местоположение: Асеновград
Благодарил/а: 3 пъти
Получена  благодарност: 9 пъти

Дневни светлини за Toyota - DRL модули,схеми,LED светлини...

Мнение от geniya » 07 Апр 2024 12:56

Щом изходът е общ за двете къси светлини е логично да има диоди.По добре е да има два отделни изхода било през реле или мосфет. Когато пуснеш късите по оригиналната схема зареждането от генератора е винаги на 13.4V. така го командва ЕКУ. Проблема е, че вероятно ще се получава спиране на модула заради ниско напрежение на зареждане и ако тогава минеш покрай полицаите ще получиш фиш, както стана при мен. Сега като сложих китайска навигация в която има вграден волтметър се вижда как напрежението пада до 12.2V, сигурен съм че и версото е така.
Toyota Rav4 XA30 2008, 2.2 D4D 136hp /No DPF и Toyota Yaris 1.5 Hybrid 2013

Аватар
mapamop
Мнения: 5668
Регистриран на: 28 Юли 2019 12:49
Местоположение: Русе
Автомобил: Avensis WG T25,1ZZFE,2005
Благодарил/а: 182 пъти
Получена  благодарност: 722 пъти

Дневни светлини за Toyota - DRL модули,схеми,LED светлини...

Мнение от mapamop » 07 Апр 2024 18:01

geniya написа: 07 Апр 2024 12:56пада до 12.2V
Ако си смениш или дублираш гадния стоманен китайски кабел за BAT+12V ще видиш и повече. При мен имаше между 0.5 и 2 волта разлика. В момента е 0.1. Медията не е критерий заради преходните кабели.
Opel Astra F 1.7D(1993) -> Toyota Avensis T25 (2005), E: 1ZZFE, F: ZZT251L / Corolla Verso (07.2007), E: 1ZZFE, F: ZNR11L
--
Тц...тц...тц...

geniya
Мнения: 317
Регистриран на: 17 Авг 2014 08:38
Местоположение: Асеновград
Благодарил/а: 3 пъти
Получена  благодарност: 9 пъти

Дневни светлини за Toyota - DRL модули,схеми,LED светлини...

Мнение от geniya » 08 Апр 2024 07:35

Сигурно си прав, но съм го мерил с волтметър в запалката и наистина пада до 12,2V като това е моментно за няколко секунди. На навигацията варира от 12,2-14,8V кабелите са хубави вероятно защото беше най-скъпата която се предлагаше в червения сайт, аналога и в БГ е 1200лв.
Toyota Rav4 XA30 2008, 2.2 D4D 136hp /No DPF и Toyota Yaris 1.5 Hybrid 2013

Аватар
mapamop
Мнения: 5668
Регистриран на: 28 Юли 2019 12:49
Местоположение: Русе
Автомобил: Avensis WG T25,1ZZFE,2005
Благодарил/а: 182 пъти
Получена  благодарност: 722 пъти

Дневни светлини за Toyota - DRL модули,схеми,LED светлини...

Мнение от mapamop » 08 Апр 2024 09:19

geniya написа: 08 Апр 2024 07:35 кабелите са хубави вероятно защото беше най-скъпата
Кабелите на тази за 200 лева (2-4 ядра и 1ГБ РАМ) и тази за 1200 лева са едни и същи (боклуци). На старата (880 лева 2020г.) кербовах наново НОВИ кабели, защото започна да гасне когато си иска и да не тръгва, изчезваха бутоните от волана, и спрямо волтметъра на зарядното в колата (който пък е засичан с мултиметъра), даваше 1.5-2.0 волта отклонение. После разликата падна до 0.1-0.2 волта. На новата (900 лева) ми прегоря терминал във конектора, във оригиналните кабели купени от "фирмения магазин" на Xtrons за 25€. Смених го със същия стоманен кабел от резервния harness който си имам купен за ... 10 лева. При китайците обикновено разликата между това което струва 10 лева и това което струва 100 лева, основно е че второто струва 100 лева.
Opel Astra F 1.7D(1993) -> Toyota Avensis T25 (2005), E: 1ZZFE, F: ZZT251L / Corolla Verso (07.2007), E: 1ZZFE, F: ZNR11L
--
Тц...тц...тц...

geniya
Мнения: 317
Регистриран на: 17 Авг 2014 08:38
Местоположение: Асеновград
Благодарил/а: 3 пъти
Получена  благодарност: 9 пъти

Дневни светлини за Toyota - DRL модули,схеми,LED светлини...

Мнение от geniya » 08 Апр 2024 14:23

Надявам се китайците да са се подобрили в това отношение. Ще го имам предвид и ще тествам тези, които ми останаха в кутията от какъв материал са.
Toyota Rav4 XA30 2008, 2.2 D4D 136hp /No DPF и Toyota Yaris 1.5 Hybrid 2013

Публикувай отговор

Кой е на линия

Потребители разглеждащи този форум: 0 регистрирани и 1 гост